Онлайн с 2006 года – Проверенное качество
Более 100 000 товаров – Широкий ассортимент
Доставка с собственного склада – Быстрая отправка
Честные цены

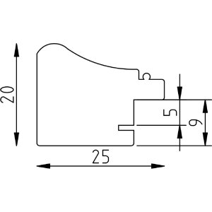
Эффектная деревянная фоторамка профиль 85 золото 40х60 см обычное стекло

Деревянная фоторамка ручной работы из массива дерева, профиль 85, 5 слоев лака, гладкая поверхность
Цвет 
Тип стекла 
Формат рамки 

68,80 €
Вкл. НДС , плюс стоимость доставки
Часто покупают вместе
Часто искали и нашли